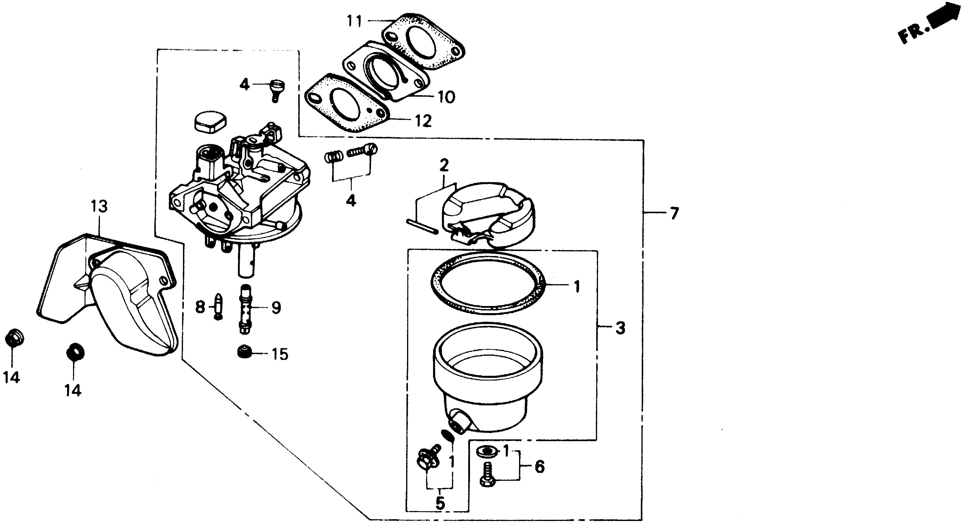
Snow Blowers HS HS35 HS35 A HS35-1000001-9999999 CARBURETOR - The Mower Shop

Ref No
Part Number
Description
Serial Range
Qty
Price

Ref No
1
Part Number
16010-YA0-801
Description
GASKET SET
Serial Range
1000001 - 9999999
Qty
Price
$25.48

Ref No
2
Part Number
16013-883-005
Description
FLOAT SET
Serial Range
1000001 - 9999999
Qty
Price
$38.78

Ref No
3
Part Number
16015-896-505
Description
CHAMBER SET, FLOAT
Serial Range
1000001 - 9999999
Qty
Price
$38.48

Ref No
4
Part Number
16016-730-015
Description
SCREW SET A
Serial Range
1000001 - 9999999
Qty
Price
$21.70

Ref No
4
Part Number
16016-YA0-801
Description
SCREW SET
Serial Range
1000001 - 9999999
Qty
Price
$21.70

Ref No
5
Part Number
16024-730-005
Description
SCREW SET, DRAIN (NOT AVAILABLE)
Serial Range
1000001 - 9999999

Ref No
6
Part Number
16028-ZK7-S91
Description
SCREW SET
Serial Range
1000001 - 9999999
Qty
Price
$13.54

Ref No
7
Part Number
16100-730-045
Description
CARBURETOR ASSY. (BB25A B)
Serial Range
1000001 - 9999999
Qty
Price
$92.61

Ref No
8
Part Number
16155-883-005
Description
VALVE, FLOAT
Serial Range
1000001 - 9999999

Ref No
9
Part Number
16166-883-005
Description
NOZZLE, MAIN
Serial Range
1000001 - 9999999
Qty
Price
$12.76

Ref No
10
Part Number
16211-887-000
Description
INSULATOR, CARBURETOR
Serial Range
1000001 - 9999999
Qty
Price
$14.24

Ref No
11
Part Number
16212-887-306
Description
GASKET, INSULATOR
Serial Range
1000001 - 9999999
Qty
Price
$3.28

Ref No
12
Part Number
16221-883-306
Description
GASKET, CARBURETOR
Serial Range
1000001 - 9999999

Ref No
12
Part Number
16221-887-800
Description
GASKET, CARBURETOR
Serial Range
1000001 - 9999999
Qty
Price
$3.34

Ref No
13
Part Number
17350-730-000
Description
GUIDE, AIR (NOT AVAILABLE)
Serial Range
1000001 - 9999999

Ref No
14
Part Number
94050-06080
Description
NUT, FLANGE (6MM)
Serial Range
1000001 - 9999999

Ref No
15
Part Number
99101-124-0550
Description
JET, MAIN (#55)
Serial Range
1000001 - 9999999
Qty
Price
$11.94

Ref No
15
Part Number
99101-124-0580
Description
JET, MAIN (#58)
Serial Range
1000001 - 9999999
Qty
Price
$11.30

Ref No
15
Part Number
99101-124-0600
Description
JET, MAIN (#60)
Serial Range
1000001 - 9999999
Qty
Price
$12.62